Use Millimeter Wave Radar Kits for Fast Development of Precision Object Detection Designs
Contributed By DigiKey's North American Editors
2019-02-19
Designers are under constant competitive pressure to implement motion sensors that are smaller, more accurate, and have a longer detection range for applications in industries as diverse as smart buildings, factory automation, transportation, and drones. While millimeter wave (mmWave) technology is emerging as an attractive motion detection option, designers new to mmWave technology find the underlying radar front-end and high performance signal chain challenging.
To resolve these issues, mmWave devices and associated development kits are now available that allow designers to rapidly deploy sophisticated and precise motion detection systems.
This article will discuss the expanding role of motion detection systems and explain why mmWave is a good option for range and accuracy. It will then introduce a suitable kit and show how to get up and running with it.
The expanding role of motion detection
Motion detection has emerged as an increasingly important capability in a wide range of applications. Besides its role as a convenience feature in smart buildings and home products, it provides a critical safety feature in automotive and industrial applications. In a growing number of applications, extended range and accuracy are vital, precluding use of traditional methods built around passive infrared sensors or time-of-flight systems.
For this reason, frequency modulated continuous wave (FMCW) mmWave radar technology has gained increased attention. Its use of short wavelength signals enables detection of objects with sub-millimeter accuracy. It can also penetrate materials like plastic, drywall, and clothing while maintaining its high level of performance despite harsh environmental conditions such as rain, fog, dust, and snow.
Tight beams of mmWave energy can be focused and steered to provide highly accurate detection of objects and track multiple objects as they move in close proximity to each other.
How mmWave technology works
Although the details of mmWave radar signal processing are beyond the scope of this article, the principles of detection are based on a familiar concept involving reflection of energy by an object. In linear FMCW radars, this energy is a millimeter wave tone, called a chirp, which changes in frequency linearly with time. After the radar system generates and transmits a chirp, the chirp signal reflected from a downrange object is detected and passed to a mixer. The mixer combines the RX and TX signals to produce an intermediate frequency (IF) signal.
The delay between chirp transmission and the detection of the reflected signal is used to calculate the distance between the radar system antennas and an object. If the radar system generates multiple chirps in a single observation window, or frame, it can determine the velocity of an object by measuring the phase difference in the corresponding reflected chirps. If multiple receivers are used, the radar system can also then determine the relative angle of arrival (AoA) between the radar system and object. Using these same principles with more complex calculations, a high performance radar system can track multiple targets moving at different velocities and trajectories.
The design of a system capable of performing these operations combines RF, analog, and digital subsystems (Figure 1). As part of the system’s output signal chain, an RF signal synthesizer generates the chirp for transmission. At the first stage of the system’s input signal chain, an RF mixer combines the generated chirp with the reflected chirp to produce the IF signal. As part of subsequent analog stages, a low-pass filter and analog-to-digital converter (ADC) produce a digital data stream for signal processing using a fast Fourier transform (FFT) and other algorithms.

Figure 1: A typical millimeter wave frequency modulated continuous wave (FMCW) radar design relies on tightly integrated RF, analog, and digital subsystems to transmit a precisely controlled burst of energy called a chirp, and process the reflected signal to resolve range, velocity, and relative angle of downrange objects. (Image source: Texas Instruments)
Although this fundamental architecture applies to a typical FMCW radar system, the specifics of its design depend upon application level requirements for maximum detection range, range resolution, angle resolution, and others. For example, maximum detection range is proportional to the IF and inversely proportional to frequency slope. Consequently, long-range applications such as automotive adaptive cruise control require a design capable of supporting a high IF and producing a chirp with a rapid frequency sweep time.
Designers looking to optimize radar performance must also deal with a host of design characteristics including TX output power, RX sensitivity and noise figure, antenna TX and RX gain profile geometry, and the signal-to-noise ratio of the reflected signal. Also, every application brings its unique combination of factors, presenting developers with a complex set of mutually dependent requirements.
With its mmWave platform, Texas Instruments relieves designers from many of the challenges of radar system design and configuration.
Single-chip mmWave solution
The Texas Instruments mmWave solution combines mmWave ICs and a comprehensive software environment that can dramatically simplify implementation of mmWave-based motion detector applications. Industrial mmWave devices, including the Texas Instruments IWR1443 and IWR1642, integrate the full set of RF, analog, and digital subsystems required to generate, transmit, receive, and process FMCW radar signals. These devices combine a similar RF/analog front-end with a sophisticated digital subsystem (Figure 2). Within this front-end architecture, these devices integrate a complete FMCW 76 to 81 gigahertz (GHz) band transceiver subsystem with four dedicated RX signal paths and multiple TX channels (three in the IWR1443 and two in the IWR1642).

Figure 2: The Texas Instruments IWR1443 and IWR1642 mmWave devices build on a similar front-end architecture, providing four separate RX channels and multiple TX channels including three in the IWR1443 and two in the IWR1642. (Image source: DigiKey, using Texas Instruments source material)
For their digital subsystem, both devices integrate an Arm® Cortex®-R4F processor core, which serves as the device host in the master control system responsible for device peripherals, firmware update, boot, and other host functions. Using its integrated ROM and program/data memory, this master control system serves a primary role in enabling the TI mmWave devices to operate autonomously within a larger system design.
For their integrated radar processing subsystem, both devices use a similar architecture built around a 128-bit, 200 megahertz (MHz) bus that provides high-speed throughput among shared memory resources including ADC buffers, radar L3 data memory, cache, and memory for communication with the master control system host. Attached to this same bus, enhanced DMA (EDMA) modules provide processor independent transfers to speed up data transfers through the various stages of the processing pipeline.
For their radar signal processing subsystem, the IWR1443 and IWR1642 use two different approaches. The IWR1443 includes a specialized accelerator designed to speed FFT computation and other calculations underlying radar signal processing (Figure 3). In addition, a separate Arm Cortex-R4F processor (radar system) serves as a dedicated host for front-end configuration, radar subsystem control, and calibration.

Figure 3: Along with the RF and analog front-end, the Texas Instruments IWR1443 mmWave device integrates a digital subsystem that includes an Arm Cortex-R4F-based master control system, a separate Arm Cortex-R4F-based RADAR system, and an FFT accelerator to speed radar signal processing. (Image source: Texas Instruments)
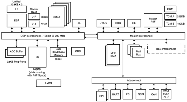
For its radar signal processor, the IWR1642 integrates a Texas Instruments C674x digital signal processor (DSP) core (Figure 4). Designed specifically for FMCW signal processing, the IWR1642 DSP operates with a 600 MHz clock supported by 32 Kbyte of L1 program (L1P) and data (L1d) caches, along with its 256 Kbytes of unified program/data L2 cache to speed DSP operations. If necessary, developers can use the IWR1642 strictly as a radar signal processor.

Figure 4: Along with the RF/analog front-end, the Texas Instruments IWR1443 mmWave device integrates a digital subsystem that includes an Arm Cortex-R4F as the master processor and a Texas Instruments C674x digital signal processing (DSP) core for radar signal processing. (Image source: Texas Instruments)
Hardware-in-the-loop (HIL) modules built into both the master control and radar subsystems allow developers to use the device’s data modification module (DMM) input ports to bypass the RF front-end and load raw radar data into the IWR1642 for signal processing.
Radar signal processing chain
Although the choice of the IWR1443’s hardware accelerator or the IWR1642’s C674x DSP core depends on each application’s unique requirements, the selected device’s operation in an application will be largely transparent to most developers. In the Texas Instruments mmWave solution architecture, the TI mmWave software environment can use the resources of either device to execute functional modules, called data processing units (DPUs), which are responsible for individual data transformations typically used in radar signal processing. Among the TI mmWave DPUs, core functions include:
- Range FFT: This reads chirp data during the acquisition period within the active frame to generate the one-dimensional FFT used for range calculation and produce the radar data cube. This is a three-dimensional (3D) matrix of range, chirp, and antenna data stored in dedicated L3 radar data memory.
- Static clutter removal: This subtracts the mean value of the samples from the sample set.
- Doppler FFT: This performs 2D FFT calculations to refine the radar cube data between frames and generates the detection matrix used by radar object detection algorithms.
- CFAR: This performs the constant false alarm rate (CFAR) algorithm commonly used for object detection.
- CFAR cell-averaging: This combines the AoA with the CFAR module to implement the CFAR cell-averaging (CFAR-CA) algorithm commonly used by radar systems to detect objects against noise backgrounds.
- Additional DPUs for clustering, group tracking, and classification provide further application specific refinements of radar signal data.
Using the TI mmWave software development kit (SDK), developers use calls to the data path manager (DPM) application programming interface (API) to combine different DPUs into the required detection (or data) processing chain (DPC). For example, implementation of a DPC for object detection (Figure 5) requires only a few basic calls as demonstrated in sample code included in the Texas Instruments mmWave SDK distribution (Listing 1).

Figure 5: A typical object detection processing chain combines separate data processing units (DPUs) that perform radar signal processing functions such as range FFT calculations during the acquisition period, as well as other data transformations in the interframe period. (Image source: Texas Instruments)
Copy
for(i = 0; i < RL_MAX_SUBFRAMES; i++)
{
subFrmObj = &objDetObj->subFrameObj[i];
subFrmObj->dpuRangeObj = DPU_RangeProcHWA_init(&rangeInitParams, errCode);
if (*errCode != 0)
{
goto exit;
}
subFrmObj->dpuStaticClutterObj = DPU_StaticClutterProc_init(errCode);
if (*errCode != 0)
{
goto exit;
}
subFrmObj->dpuCFARCAObj = DPU_CFARCAProcHWA_init(&cfarInitParams, errCode);
if (*errCode != 0)
{
goto exit;
}
subFrmObj->dpuDopplerObj = DPU_DopplerProcHWA_init(&dopplerInitParams, errCode);
if (*errCode != 0)
{
goto exit;
}
subFrmObj->dpuAoAObj = DPU_AoAProcHWA_init(&aoaInitParams, errCode);
if (*errCode != 0)
{
goto exit;
}
}
Listing 1: Included in the Texas Instruments mmWave SDK distribution, sample code such as this snippet illustrate the basic design pattern for creating a DPC by adding a set of DPUs to an ObjDetObj struct. (Code source: Texas Instruments)
Software services within the layered software environment automatically implement DPUs using the DSP subsystem (DSS), the master subsystem (MSS) and accelerator, or a combination (Figure 6). At the application level, developers use the mmWave API to access DPU results from a fully configured DPC or directly access the mmWave front end through the mmWaveLink API.
Figure 6: The Texas Instruments mmWave environment provides multiple application programming interfaces (API) that hide the details of radar system operations to simplify development of motion detection applications. (Image source: Texas Instruments)
For a particular application, one of the critical services provided by mmWaveLink is configuration of the internal radar timing engine that generates FMCW chirps and chirp frames. As noted earlier, chirp and chirp frame characteristics determine object detection performance, but practical limitations mean that selection of some performance settings create limitations in others.
For example, because maximum detection range is inversely proportional to frequency slope, developers requiring long-range detection need to minimize the frequency slope. Doing so impacts the bandwidth of the chirp frequency sweep, resulting in reduced resolution because detection range resolution is proportional to that bandwidth characteristic. In fact, optimized specifications for chirp and chirp frame operation is a critical factor in radar design, requiring developers to balance a number of chirp characteristics (Figure 7).

Figure 7: Object detection range and resolution depend critically on the characteristics of the transmitted chirp, requiring developers to carefully optimize settings in the chirp generator configuration. (Image source: Texas Instruments)
Besides offering an online mmWave sensing estimator tool for evaluating chirp settings, Texas Instruments provides an extensive chirp database with recommended chirp configurations for specific use cases in its industrial toolbox for mmWave sensors. Developers can find reference designs and sample code covering applications from high-resolution gesture recognition to long-range traffic monitoring. Built around mmWave BoosterPacks, sample applications allow developers to quickly evaluate mmWave performance and extend the reference designs for their own custom applications. For example, to evaluate gesture control, developers can connect an IWR1443 BoosterPack (IWR1443BOOST) evaluation module (EVM) to a USB connection on their Windows PC, upload prebuilt firmware, and explore detection of complex gestures such as a finger twirl (Figure 8).

Figure 8: Using a Texas Instruments IWR1443BOOST EVM and available sample code, developers can explore applications of mmWave technology for dynamic high-resolution gesture recognition such as use of a twirling finger to control an imaging system. (Image source: Texas Instruments)
For gesture recognition, the IWR1443BOOST EVM can serve as the sole hardware platform. In other examples, Texas Instruments demonstrates use of an mmWave BoosterPack in combination with its LaunchPad development kits. For example, a people tracking application combines an IWR1642BOOST EVM with a LAUNCHXLCC1352R1 wireless MCU LaunchPad to demonstrate detection and tracking of people from a remotely deployed radar system. This reference design demonstrates the impact of different chirp settings in extending maximum range at the expense of resolution (Figure 9).
|
Figure 9: A sample Texas Instruments mmWave application provides multiple chirp configurations, allowing developers to study the relationship between chirp characteristics and detection performance. (Image source: Texas Instruments)
Conclusion
Millimeter wave technology provides range and accuracy advantages well beyond those achievable with earlier methods. For developers, however, multiple challenges at both the hardware and software level have limited deployment of this technology. The availability of mmWave devices, development tools, and a comprehensive software environment from Texas Instruments significantly lowers the barrier to implementation of sophisticated object detection and tracking applications using mmWave technology.
Disclaimer: The opinions, beliefs, and viewpoints expressed by the various authors and/or forum participants on this website do not necessarily reflect the opinions, beliefs, and viewpoints of DigiKey or official policies of DigiKey.



