How a Combination of ZigBee and the EnOcean Alliance Drives Energy Harvesting Forward for the IIoT
Contributed By DigiKey's European Editors
2016-06-08
Standards are an essential element in the development of the Internet of things, particularly for industrial equipment. This is particularly apparent in the wireless connections that lie at the heart of the network and their use with battery power. While there are some global standards in the 2.4 GHz band such as ZigBee and potentially Bluetooth, these still have challenges in the power consumption of the wireless nodes, largely as a result of the protocols used that are more focused on data connections. While these have gained traction for systems that have wired power, there has been a move to harvesting energy, particularly in industrial applications, and these protocols can be too power hungry.
In industrial networks with thousands or tens of thousands of battery-powered wireless nodes, replacing the batteries is a major operational cost and risk to the operation of the network. Battery changes have to be scheduled to ensure that nodes do not fail and vital data is not missed. As these networks are connected to the Internet and data is fed into the cloud for analysis and monitoring, this reliability is even more important.
As a result, organizations such as EnOcean developed their own wireless protocols, often based on small telegrams of data, that use tiny amounts of power that can be scavenged from indoor lighting, thermal differences or the vibration of the equipment itself. Even if the energy available is not quite regular enough for constant power, using energy harvesting to recharge batteries can dramatically extend the battery life of the wireless nodes to many years, boosting the acceptance of the technology and enabling the roll out of the industrial Internet of Things (IIoT).
EnOcean’s EDK350 development kit shown in Figure 1 includes a programmer/demo board with the USB 300 USB gateway to connect to a PC to control the TCM 320 transceiver module and STM 300 sensor module. It also includes a solar powered temperature sensor, push button transmitter, mechanical energy generator, and transmitter module to demonstrate all the elements of a self-powered network.

Figure 1: The EDK350 development kit contains all the elements need to build a self-powered network using EnOcean’s ultra-low-power protocol.
However, there has been a mismatch between the global standards such as ZigBee and the energy-optimized protocols from EnOcean. While ZigBee has over ten silicon providers to offer system designers a choice for wireless nodes and gateways, the EnOcean Alliance is still reliant on one company, EnOcean, for the underlying transceivers even though the protocols are open as part of the international ISO/IEC 14543-3-1X standard. This has restricted the choice of designers wanting to use energy harvesting for industrial wireless networks.
The latest version of ZigBee, version 3.0, now aims to combine the advantages of both approaches to create an open, global specification that will extend energy harvesting wireless communication to a broader range of self-powered IoT sensor solutions.

Figure 2: ZigBee 3.0 aims to lay the foundations for an interoperable protocol for the industrial Internet of Things that can use energy harvesting.
The goal with ZigBee 3.0 is to provide a unifying IoT standard that simplifies product development while reducing industry fragmentation, particularly for industrial networks, by providing specifications not just at the application and protocol layer but now at the physical layer (Figure 2). The agreement with the EnOcean Alliance is a first important step down that path, as the two groups will jointly develop a specification for the ZigBee 3.0 ecosystem for interoperable self-powered IoT solutions.
This will enable the first single unified, open and complete wireless IoT product development solution of its kind that extends all the way from the physical layer to the application network layer, and includes certification and branding for improved interoperability across a growing range of market segments.
The interoperability defined by ZigBee 3.0 will allow self-powered devices from a range of different suppliers to be plug-and-play, greatly increasing the volume opportunities and so driving down the cost of the underlying components, including the current ZigBee silicon controllers and transceivers (see Figures 3 and 4).
The challenge is to use the EnOcean telegram approach in the globally available unlicensed 2.4 GHz frequency band that is already used for high volume consumer applications such as Wi-Fi, allowing battery-less devices to securely join networks across a variety of energy harvesting applications.
The two groups will define technical specifications for worldwide energy harvesting wireless solutions based on this worldwide standard, giving the 1500 members of the EnOcean Alliance access to applications outside the current sub-GHz networks for home and commercial building automation.
A Technical Task Force from the ZigBee Alliance and EnOcean Alliance is defining the technical specifications required to combine standardized EnOcean Equipment Profiles (EEPs) with the ZigBee 3.0 protocols in the 2.4 GHz IEEE 802.15.4 standard, and plans to complete definition of the specification in the second quarter of 2016.
This support for a common protocol layer between the two is just the first of several steps to simplify industrial IoT product development, and programmable, flexible silicon controllers are at the heart of this move. Being able to use the ultra-low-power EnOcean protocols with existing 2.4 GHz transceivers opens up a wide range of existing controllers to reduce the power consumption even further so that the devices can use energy harvesting.
The KW40Z from NXP is an ultra-low-power, highly integrated single-chip device for 802.15.4 RF connectivity. As shown in Figure 3, it integrates a radio transceiver operating in the 2.36 GHz to 2.48 GHz range supporting a range of FSK/GFSK that can support the EnOcean protocol as well as the O-QPSK modulations defined in 802.15.4-2011.

Figure 3: The KW40Z from NXP is a highly integrated ZigBee controller and transceiver for ultra-low-power designs.
The device can be used in applications as a black box modem to add 802.15.4 connectivity to an existing embedded controller system, or used as a stand-alone smart wireless sensor with an embedded application where no host controller is required. NXP provides fully-certified protocol stacks and application profiles to support the KW40Z, and as a ZigBee partner is working on the ZigBee 3.0 version that is implemented as firmware on the controller. The flash and SRAM memory are available for applications and communication protocols using NXP or third party software development tools.
A long battery life is already achieved through efficiency of code execution in the Cortex M0+ CPU core and the multiple low power operating modes of the device, and these allow the core to wake up quickly to send a telegram (for 1 ms) and shut down again. This will further reduce power for the EnOcean energy harvesting modes.
An integrated DC-DC converter enables a wide operating range from 0.9 V to 4.2 V that allows the device to operate from a single coin cell battery with a significant reduction of peak Rx and Tx current consumption throughout its entire useful voltage range of 0.9 V to 1.795 V. This capability can be extended for energy harvesting operation.
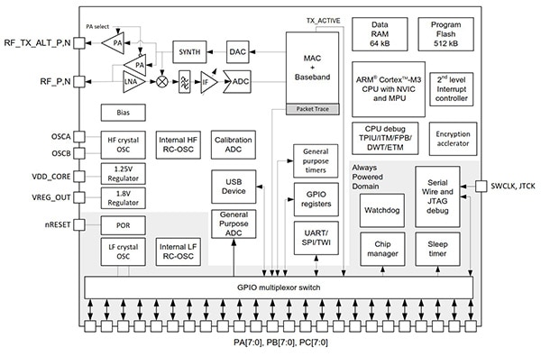
The Ember EM358x from Silicon Labs is another fully integrated system-on-chip for ZigBee that uses an 802.15.4-2003-compliant transceiver and more powerful ARM Cortex-M3 microprocessor.

Figure 4: The EM358x from Silicon Labs integrates a Cortex-M3 processor core to handle the ZigBee protocols.
As shown in Figure 4 above, the transceiver uses an efficient architecture that exceeds the dynamic range requirements imposed by the IEEE 802.15.4-2003 standard by over 15 dB, and the integrated receive channel filtering allows for robust co-existence with other communication standards in the 2.4 GHz spectrum. The integrated regulator, VCO, loop filter, and power amplifier keep the external component count low.
To maintain the strict timing requirements imposed by the ZigBee standards, the EM358x integrates a number of MAC functions, AES128 encryption accelerator and automatic CRC handling into the hardware, all of which would be used for the converged ZigBee 3.0 implementation. The MAC hardware handles automatic ACK transmission and reception, automatic backoff delay, and clear channel assessment for transmission, as well as automatic filtering of received packets. A high-frequency internal RC oscillator allows the processor core to begin code execution quickly upon waking to minimize the wake time, and various deep sleep modes are available with less than 2 µA power consumption while retaining RAM contents.
This experience with ZigBee, coupled with low power processors such as the 32-bit EFM32JG Jade Gecko and Silicon Labs’ expertise with 8-bit controllers in energy harvesting designs all comes together to provide a strong platform for ZigBee 3.0 systems.
Conclusion
The combination of ZigBee and the EnOcean Alliance promises to deliver a global ecosystem of ultra-low-power devices that are optimized for energy harvesting. Using the silicon expertise of the ZigBee chip partner to add the EnOcean low power protocols means existing hardware will be easily upgradeable for the new ZigBee 3.0 standard when the technical specifications are agreed. This will allow wireless sensor nodes in the industrial Internet of Things that can be self-powered or use the energy harvesting to dramatically extend the lifetime of rechargeable batteries and so reduce both the development cost and the operating costs of the network.
Disclaimer: The opinions, beliefs, and viewpoints expressed by the various authors and/or forum participants on this website do not necessarily reflect the opinions, beliefs, and viewpoints of DigiKey or official policies of DigiKey.




